替代进口SPD
雷电流波形记录仪,是一种高精度的雷击记录仪器。主要用于对直击雷进行记录,包括: 雷电流波形、雷击发生时间、雷电次数、雷电流波形峰值、单位能量值、雷击极性等。
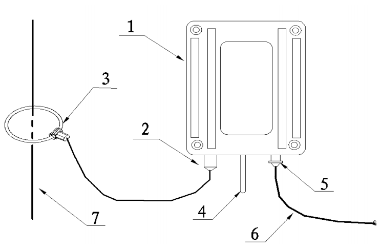
雷电波形记录仪产品组成:

1、主控箱
2、主控板连接罗氏线圈
3、罗氏线圈
4、无线传输天线(可选)
5、直流供电和 RS485 总线连接插头
6、五芯屏蔽电缆
7、接闪杆或接地引下线
雷电波形记录仪在高压线路上的安装要点:
1、罗氏线圈必须套在避雷线上,对于防雷接地和保护接地的系统,罗氏线圈也可以安装在引下线上。

2、主控箱需安装在距离地面一定高度的垂直平或者塔杆上,严禁落地式安装。

3、主控箱采用9V直流电源供电,上传数据可采用有线或者无线方式。
易造EP-DTU-301雷电波形记录仪,主要是与防护直击雷的接闪器或引下线一起使用,采用柔性罗氏线圈为电流传感器,能实时记录雷击发生时的各种参数,可以为雷电防护和雷击事故分析提供数字依据,适用于古建筑、军队、学校、医院、交通、石油化工等行业。
微信咨询
官方公众号