3PN型和4P型都是很常见的浪涌保护器型号,他们都是应用于低压交流配电系统三相保护的SPD。那么它们两个型号有什么区别呢?为什么很多用户挑选SPD时更青睐3PN型浪涌保护器呢?下面易造小编为您详细解答。

一.3PN型和4P型浪涌保护器的内部结构

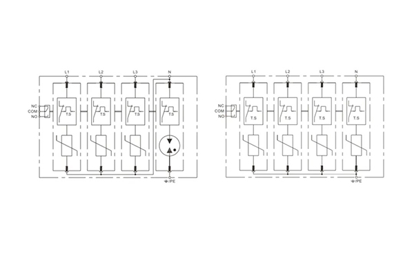
3PN型和4P型SPD内部结构对比图
为了更直观,我们把3PN型SPD的内部结构图稍微变换一下,如图2所示:

3PN型SPD内部结构变换图
我们可以很直观地看到:3PN结构的浪涌保护器实现了L-N差模保护和N-PE共模保护,为全模保护模式;而4P结构的浪涌保护器只实现了L-PE、N-PE的共模保护,没有差模保护。所以,3PN型浪涌保护器可以为线路提供更全面的保护。
二.3PN型和4P型浪涌保护器的内部原理

3PN型和4P型浪涌保护器的内部原理图对比
可以看到3PN型和4P型SPD的前三片使用的都是限压型元件(图中为压敏电阻),区别就在于N-PE之间的元件,3PN型浪涌保护器N-PE之间使用的是电压开关型元件(图中为气体放电管),而4P型浪涌保护器N-PE之间使用的是和前三片一样的限压型元件(压敏电阻)。那么,为什么N-PE之间要采用气体放电管呢?这里涉及到电力系统的一种故障模式下的过电压特性。
变压器一般会做中性点接地,当中压变压器发生接地短路故障时,由于接地电阻的存在,中性点的电位会被抬高,过电压将会沿着N线传播到后端。
以我国的电网配置,一般当电流值达到300A的时候才会切断它,而变压器处的接地电阻依照GB 50057-2010《建筑物防雷设计规范》中的规定应≤4Ω,所以这个过电压的典型值为1200V。这也是GB/T 18802.11-2020《低压电涌保护器(SPD)第11部分:低压电源系统的电涌保护器性能要求和测试方法》中要求对SPD的N-PE之间做1200V过电压试验的原因。
如果这个1200V的过电压施加在压敏电阻上的话,压敏电阻会瞬间被击穿,也就是说浪涌保护器内部的热脱扣装置还没来得及动作,SPD就已经起火了。

而电压开关型元件,比如气体放电管(GDT)则不会造成这样的后果,当过电压来袭时会出现两种情况:
1.如果GDT可以承受住这个过电压,那么它将保持在开路状态。
2.如果这个过电压超过了它的放电电压,GDT会立即导通,将过电流迅速泄放到地。
也就是说,无论GDT能否承受住过电压,哪怕GDT被过高的电压损坏也**不会造成SPD起火这样的严重后果
所以说3PN浪涌保护器的“3+1”模式是一种比较完美的解决方案,它不仅能够提供更全面的保护,还可以在中压变压器发生故障时确保SPD不会起火,可以应用在任何接地制式的配电系统中;而4P型浪涌保护器的使用范围就比较局限了,它只能应用在TN系统中,不能随便使用。如果不想出错,在需要三相保护的电路中直接选择3PN型的浪涌保护器就可以了,它可以替换4P应用在任何接地制式的电力系统中,可大大提高电力系统的安全性。


常见问题解答:
Q1:防爆浪涌保护器,串联和并联技术的参数都一样吗?
A:基本参数差不了多少,只是串联的要考虑负载电流。
Q2:一般信号浪涌有哪些信号类型?
A:通讯信号、总线信号、模拟量信号比较常见。
Q3:浪涌保护器的简单选型要点是什么?
A:浪涌简单选型只要掌握两点即可:1、了解相电压,乘以1.15的公式,可以轻松得出SPD需要的UC值,一般选常用的电压值。2、了解这个配电箱是装在室内还是室外?它的电从外面还是内部引进的,可以判断选一级还是二级。
Q4:美国电压480V 能用你们Uc385的产品吗?UL认证。
A:美国标准277V(L-N)/480V(L-L)Uc=1.15Uo,Uo为相电压,即L-N,所以Uc最小=1.15x277=319V,所以易造浪涌Uc385完全可以满足,并且有UL认证。
Q5:浪涌保护器的简单选型要点是什么?
A:浪涌简单选型只要掌握两点即可:1、了解相电压,乘以1.15的公式,可以得出SPD最小UC值,一般选高于且常用的电压值。2、了解这个配电箱是装在室内还是室外?它的电从外面还是内部引进的,可以判断选一级还是二级。
Q6:浪涌保护器的用途和材质是什么?
A:主要用于保护电路免受电压波动、过载或电涌等异常情况的损害,材质主要是尼龙和金属。
Q7:三根火线是220V,这个电压值怎么选型?
A:220V是零线和地线的电压,即相电压,Uc=1.15Uo(相电压),所以Uc最小=1.15x220=253V,选常用的电压值UC385即可。